W tym artykule znajdziesz praktyczny, krok po kroku poradnik, który pomoże Ci samodzielnie zdiagnozować problem z bezpiecznikami w Twoim domu. Dowiesz się, jak bezpiecznie zlokalizować usterkę i co zrobić, gdy nagle zabraknie prądu w części mieszkania, a także kiedy konieczne jest wezwanie profesjonalnego elektryka. Moim celem jest przekazanie Ci wiedzy, która pozwoli Ci poczuć się pewniej w obliczu takiej awarii, jednocześnie zawsze stawiając bezpieczeństwo na pierwszym miejscu.
Jak zdiagnozować problem z bezpiecznikami w domu szybki przewodnik po domowej elektryce
- Rozpoznaj typ bezpiecznika: Wyróżniamy bezpieczniki topikowe (wymagają wymiany wkładki) oraz wyłączniki nadprądowe (automaty, wystarczy podnieść dźwignię).
- Wyłącznik różnicowoprądowy (RCD): Chroni przed porażeniem; jego zadziałanie to sygnał poważniejszego problemu.
- Lokalizacja skrzynki: Najczęściej w przedpokoju, wiatrołapie, garażu lub na klatce schodowej w starszych blokach.
- Metody sprawdzania: Wizualna inspekcja (opuszczone dźwignie w automatach, przepalony drucik w topikowych) lub użycie multimetru.
- Bezpieczeństwo przede wszystkim: Zawsze odłącz główne zasilanie i używaj izolowanych narzędzi. Nigdy nie "naprawiaj" bezpieczników drutem.
- Kiedy wezwać elektryka: Powtarzające się awarie, zadziałanie i niemożność włączenia różnicówki, widoczne uszkodzenia instalacji (spalenizna, iskrzenie).
Przeciążenie, zwarcie, a może awaria? Zrozum, dlaczego bezpieczniki chronią Twój dom
Bezpieczniki są niczym cisi strażnicy Twojej domowej instalacji elektrycznej. Ich głównym zadaniem jest ochrona obwodów przed przeciążeniem i zwarciem, co jest kluczowe dla bezpieczeństwa. Gdyby nie one, nadmierny prąd mógłby doprowadzić do przegrzania przewodów, a w konsekwencji nawet do pożaru lub uszkodzenia podłączonych urządzeń. To właśnie dlatego ich prawidłowe funkcjonowanie jest tak ważne.
Najczęstsze przyczyny zadziałania bezpieczników to przede wszystkim przeciążenie obwodu dzieje się tak, gdy do jednego gniazdka lub obwodu podłączymy zbyt wiele urządzeń o dużej mocy, np. jednocześnie czajnik elektryczny, mikrofalówkę i toster. Innym powodem jest zwarcie, które może wystąpić w uszkodzonym urządzeniu, kablu lub samej instalacji. Czasem winowajcą jest po prostu awaria samego urządzenia AGD/RTV, które nagle przestaje działać poprawnie i powoduje nagły skok prądu.
Czy to na pewno bezpieczniki? Szybka lista kontrolna, zanim otworzysz skrzynkę
Zanim zaczniesz szukać problemu w skrzynce z bezpiecznikami, warto przeprowadzić krótką, ale skuteczną listę kontrolną. To pozwoli Ci zaoszczędzić czas i upewnić się, że problem leży faktycznie w Twojej instalacji, a nie gdzie indziej. Z mojego doświadczenia wiem, że często okazuje się, że przyczyna jest prozaiczna.
- Czy brak prądu dotyczy tylko jednego pomieszczenia, czy całego mieszkania/domu? Jeśli tylko jednego, to prawdopodobnie problem jest lokalny i związany z konkretnym obwodem. Jeśli w całym domu, to może to wskazywać na problem z głównym bezpiecznikiem lub awarię poza Twoją posesją.
- Czy sąsiadom również zgasło światło? Jeśli tak, to bardzo możliwe, że mamy do czynienia z ogólną awarią w sieci energetycznej, a nie problemem w Twojej instalacji. W takim przypadku pozostaje czekać na reakcję dostawcy prądu.
- Czy niedawno podłączono jakieś nowe, wysokoenergetyczne urządzenie? Nowa pralka, piekarnik, suszarka do włosów o dużej mocy? Ich jednoczesne uruchomienie z innymi sprzętami mogło spowodować przeciążenie obwodu i zadziałanie bezpiecznika.

Gdzie znajduje się serce domowej elektryki? Jak zlokalizować skrzynkę z bezpiecznikami
Skrzynka z bezpiecznikami, czyli rozdzielnica, to centralny punkt Twojej domowej instalacji elektrycznej. Znalezienie jej to pierwszy krok do rozwiązania problemu z brakiem prądu. Zazwyczaj jest umieszczona w łatwo dostępnym miejscu, choć w starszych budynkach bywa różnie.
Typowe lokalizacje w mieszkaniu, domu jednorodzinnym i starym budownictwie
W większości nowoczesnych domów jednorodzinnych i mieszkań skrzynkę z bezpiecznikami znajdziesz zazwyczaj w przedpokoju, wiatrołapie, garażu lub pomieszczeniu gospodarczym. Z reguły jest ona umieszczona blisko drzwi wejściowych, co ma ułatwić szybki dostęp w razie awarii. W nowszych budynkach jest to często estetyczna, wbudowana szafka.
W starszym budownictwie, zwłaszcza w blokach z wielkiej płyty, lokalizacja może być nieco inna. Często bezpieczniki znajdowały się na klatce schodowej, w metalowej skrzynce, do której dostęp mieli wszyscy mieszkańcy danego piętra. Warto o tym pamiętać, jeśli mieszkasz w takim budynku.
Jak wygląda skrzynka z bezpiecznikami i co oznaczają podstawowe symbole
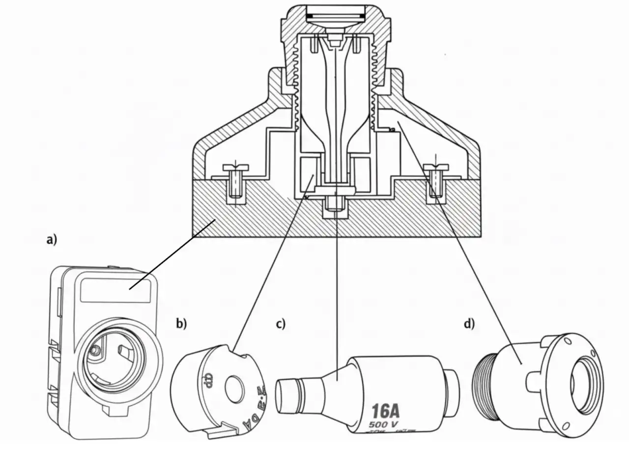
Skrzynka z bezpiecznikami (rozdzielnica) to zazwyczaj prostokątna obudowa, najczęściej w kolorze białym lub beżowym, wykonana z tworzywa sztucznego, choć w starszych instalacjach bywają metalowe. W jej wnętrzu znajdziesz szereg elementów bezpieczniki, wyłączniki, a także, co bardzo pomocne, etykiety opisujące poszczególne obwody. Z mojego doświadczenia wiem, że te oznaczenia są nieocenione w szybkiej diagnostyce. Zazwyczaj wskazują, który bezpiecznik odpowiada za "Kuchnię", "Łazienkę", "Gniazdka w salonie" czy "Oświetlenie w sypialni". Warto zapoznać się z nimi zawczasu, aby w razie awarii nie tracić czasu na szukanie.

Stare korki czy nowoczesne automaty? Rozpoznaj rodzaje bezpieczników w swojej skrzynce
Zrozumienie, z jakim typem bezpieczników masz do czynienia, jest kluczowe dla prawidłowej diagnozy i usunięcia usterki. W polskich domach spotykamy głównie dwa rodzaje, a także jeden ważny element ochronny.
Bezpieczniki topikowe (korki): Jak je zidentyfikować i co oznaczają ich kolory?
Bezpieczniki topikowe, potocznie nazywane "korkami", to relikt starszych instalacji, choć wciąż obecne w wielu domach. Charakteryzują się ceramiczną lub szklaną obudową, którą wkręca się w gniazdo. Ich zasada działania jest prosta: w razie przeciążenia lub zwarcia, cienki drucik wewnątrz wkładki topikowej przepala się, przerywając obwód. Oznacza to, że po zadziałaniu bezpiecznika topikowego, konieczna jest wymiana całej wkładki.
Bardzo ważna jest znajomość kolorów wkładek topikowych, ponieważ informują one o ich prądzie znamionowym (amperażu). Pamiętaj, aby zawsze wymieniać wkładkę na taką o identycznych parametrach! Oto najczęściej spotykane kolory i ich wartości:
- Zielony: 6A
- Czerwony: 10A
- Szary: 16A
- Niebieski: 20A
- Żółty: 25A
Nigdy nie wolno montować wkładki o wyższym amperażu niż zalecany, ponieważ grozi to poważnym uszkodzeniem instalacji, a nawet pożarem!
Wyłączniki nadprądowe (automaty): Charakterystyka i zasada działania
W nowszych instalacjach standardem są wyłączniki nadprądowe, nazywane potocznie "eskami" lub "automatami". Rozpoznasz je po charakterystycznej dźwigni. Ich działanie jest bardziej komfortowe w przypadku przeciążenia lub zwarcia, wyłącznik "odbija", czyli jego dźwignia opada do pozycji "OFF". Aby przywrócić zasilanie, wystarczy podnieść dźwignię z powrotem do pozycji "ON", oczywiście po usunięciu przyczyny awarii.
Wyłączniki nadprądowe są wielokrotnego użytku i nie wymagają wymiany po każdym zadziałaniu, co jest ich dużą zaletą w porównaniu do bezpieczników topikowych.
Rola wyłącznika różnicowoprądowego ("różnicówki") cichy strażnik Twojego bezpieczeństwa
W nowoczesnych instalacjach elektrycznych kluczowym elementem jest także wyłącznik różnicowoprądowy (RCD), powszechnie znany jako "różnicówka". To niezwykle ważny element, który chroni przede wszystkim przed porażeniem prądem elektrycznym, a także przed pożarem wynikającym z uszkodzenia izolacji. Różnicówka monitoruje równowagę prądu wpływającego i wypływającego z obwodu. Jeśli wykryje nawet niewielką różnicę (tzw. prąd upływowy), natychmiast odcina zasilanie.Jego zadziałanie (opuszczona dźwignia, często z dodatkowym przyciskiem "Test") sygnalizuje zazwyczaj poważniejszy problem, np. przebicie w obudowie urządzenia, uszkodzenie izolacji przewodu lub wilgoć w instalacji, a nie zwykłe przeciążenie. Jeśli różnicówka zadziała, a po próbie podniesienia dźwigni natychmiast ponownie opada, to jest to wyraźny sygnał, że należy wezwać elektryka. Z moich obserwacji wynika, że wielu ludzi myli różnicówkę ze zwykłym bezpiecznikiem, co może prowadzić do błędnej diagnozy i niebezpiecznych sytuacji.
Krok po kroku: Jak bezpiecznie sprawdzić, który bezpiecznik zawiódł
Gdy już wiesz, gdzie szukać i jakie masz typy bezpieczników, czas na właściwą diagnostykę. Pamiętaj, że bezpieczeństwo jest absolutnym priorytetem w pracy z elektrycznością.Zasada nr 1: Bezpieczeństwo przede wszystkim! Jak przygotować się do pracy z prądem
Zawsze podchodź do pracy z instalacją elektryczną z najwyższą ostrożnością. To nie jest miejsce na improwizację.
- Odłącz główne zasilanie: Zawsze, jeśli to możliwe, odłącz główne zasilanie w całym domu przed jakąkolwiek ingerencją w skrzynkę z bezpiecznikami. Zazwyczaj jest to główny wyłącznik na wejściu do rozdzielnicy. To eliminuje ryzyko porażenia prądem.
- Używaj izolowanych narzędzi: Zapewnij sobie bezpieczeństwo, korzystając z narzędzi z izolowanymi rękojeściami. To dodatkowa warstwa ochrony, gdybyś przypadkowo dotknął elementu pod napięciem.
- Nigdy nie "naprawiaj" bezpieczników: Absolutnie zabronione jest "naprawianie" bezpieczników topikowych drutem, folią aluminiową lub innymi prowizorycznymi metodami. Takie działania grożą pożarem, poważnym uszkodzeniem instalacji lub porażeniem prądem. Bezpiecznik topikowy musi zostać wymieniony na nowy o identycznych parametrach.
Diagnostyka wyłączników nadprądowych: Test jednego spojrzenia
Sprawdzenie wyłączników nadprądowych jest najprostsze. Wystarczy wizualna inspekcja skrzynki. Jeśli widzisz, że jedna z dźwigni jest opuszczona (w pozycji "OFF"), to właśnie ten wyłącznik zadziałał. Spróbuj podnieść dźwignię do pozycji "ON". Jeśli pozostanie w tej pozycji, problem został rozwiązany (prawdopodobnie było to chwilowe przeciążenie). Jeśli natychmiast opadnie, oznacza to, że przyczyna awarii nadal istnieje i należy ją zlokalizować.
Sprawdzanie bezpieczników topikowych: Inspekcja wizualna i kiedy potrzebujesz miernika
W przypadku bezpieczników topikowych należy je wykręcić i ocenić wizualnie. Szukaj przepalonego drucika wewnątrz szklanej lub ceramicznej obudowy to jednoznaczny znak, że bezpiecznik jest uszkodzony. Czasem wkładka topikowa ma małą kropkę (wskaźnik), która wypada, gdy bezpiecznik zadziała. Jeśli nie widzisz wyraźnych uszkodzeń, ale masz wątpliwości, lub jeśli brakuje widocznego wskaźnika, możesz użyć multimetru (miernika uniwersalnego) do potwierdzenia usterki.
Praktyczny poradnik: Jak użyć multimetru do potwierdzenia usterki bezpiecznika?
Multimetr to bardzo przydatne narzędzie, które pozwala precyzyjnie sprawdzić ciągłość obwodu. Oto jak go użyć:
- Ustaw multimetr: Wybierz funkcję testu ciągłości obwodu. Jest ona często oznaczana symbolem diody lub brzęczyka. Wiele multimetrów w tym trybie wydaje sygnał dźwiękowy, jeśli obwód jest zamknięty.
- Wykręć bezpiecznik: Zawsze wyjmij podejrzany bezpiecznik topikowy ze skrzynki, zanim zaczniesz go testować. Nigdy nie testuj bezpiecznika pod napięciem!
- Przyłóż sondy: Dotknij metalowymi sondami multimetru do obu metalowych końcówek bezpiecznika (tej wkręcanej i tej na środku).
- Odczytaj wynik: Jeśli multimetr wyda sygnał dźwiękowy lub pokaże niską rezystancję (wartość bliską zeru), oznacza to, że bezpiecznik jest sprawny prąd może przez niego przepływać. Brak sygnału dźwiękowego lub wskazanie "OL" (Open Loop przerwa w obwodzie) oznacza, że bezpiecznik jest przepalony i należy go wymienić.
Problem zdiagnozowany? Instrukcja postępowania po znalezieniu winowajcy
Gratuluję! Jeśli udało Ci się zlokalizować uszkodzony bezpiecznik, to już połowa sukcesu. Teraz czas na przywrócenie zasilania, pamiętając o bezpieczeństwie i szukaniu przyczyny problemu.
Jak prawidłowo zresetować wyłącznik nadprądowy ("eska")?
To najprostsza część. Jeśli to wyłącznik nadprądowy zadziałał, wystarczy podnieść jego dźwignię do pozycji "ON". Upewnij się, że dźwignia jest stabilnie w górze. Jeśli natychmiast opadnie, to tak jak wspomniałem wcześniej, problem nadal istnieje i musisz poszukać jego przyczyny w urządzeniach lub instalacji.
Wymiana bezpiecznika topikowego: Jak dobrać odpowiedni i go zamontować?
Wymiana bezpiecznika topikowego wymaga nieco więcej uwagi, ale jest równie prosta, jeśli przestrzegasz zasad.
- Wykręć stary bezpiecznik: Ostrożnie wykręć przepalony bezpiecznik topikowy z gniazda. Upewnij się, że główne zasilanie jest odłączone.
- Dobierz nowy o identycznych parametrach: To jest krytyczny krok. Upewnij się, że nowy bezpiecznik ma identyczne parametry prądowe (amperaż) jak stary. Kolor wkładki jest tutaj Twoim przewodnikiem (np. zielony 6A, czerwony 10A). Nigdy nie używaj bezpiecznika o wyższym amperażu, niż było to pierwotnie!
- Wkręć nowy bezpiecznik: Wkręć nowy bezpiecznik w gniazdo, upewniając się, że jest dobrze dokręcony. Po wkręceniu możesz włączyć główne zasilanie i sprawdzić, czy prąd wrócił.
Bezpiecznik znów zadziałał? Jak znaleźć przyczynę problemu w domowych urządzeniach
Jeśli po zresetowaniu wyłącznika nadprądowego lub wymianie bezpiecznika topikowego, problem natychmiast powraca, to znak, że przyczyna awarii nadal istnieje. Najczęściej winowajcą jest któreś z podłączonych urządzeń. Moja rada to:
Odłącz wszystkie urządzenia podłączone do obwodu, na którym zadziałał bezpiecznik. Następnie, po zresetowaniu/wymianie bezpiecznika, podłączaj urządzenia pojedynczo. W ten sposób, gdy bezpiecznik ponownie zadziała, będziesz wiedział, które konkretne urządzenie powoduje zwarcie lub przeciążenie. To urządzenie należy odłączyć i oddać do naprawy lub wymienić. Jeśli po odłączeniu wszystkich urządzeń bezpiecznik nadal "wybija", to problem leży w samej instalacji, a wtedy czas na wezwanie specjalisty.Kiedy domowe sposoby to za mało? Sygnały, że czas wezwać elektryka
Chociaż samodzielna diagnostyka i wymiana bezpieczników to przydatne umiejętności, istnieją sytuacje, w których domowe sposoby są niewystarczające, a wręcz niebezpieczne. W takich przypadkach niezwłocznie wezwij wykwalifikowanego elektryka. Pamiętaj, że bezpieczeństwo Twoje i Twoich bliskich jest najważniejsze.
Powtarzające się problemy z tym samym obwodem
Jeśli bezpiecznik w tym samym obwodzie zadziała ponownie, nawet po jego wymianie/zresetowaniu i wykluczeniu problemów z podłączonymi urządzeniami, jest to poważny sygnał ostrzegawczy. Może to wskazywać na poważniejszą usterkę w samej instalacji elektrycznej, np. uszkodzenie przewodów, wadliwe gniazdko, problem z puszką rozgałęźną lub niewłaściwe połączenia. Takie problemy wymagają interwencji specjalisty, który dysponuje odpowiednim sprzętem diagnostycznym i wiedzą, aby bezpiecznie zlokalizować i naprawić usterkę.
Gdy zadziałał wyłącznik różnicowoprądowy i nie chce się ponownie włączyć
Jak już wspomniałem, wyłącznik różnicowoprądowy (RCD) chroni przed porażeniem. Jego zadziałanie i niemożność ponownego włączenia, nawet po odłączeniu wszystkich urządzeń z obwodu, jest bardzo poważnym sygnałem. Wskazuje to na znaczące przebicie, uszkodzenie izolacji lub inny, potencjalnie bardzo niebezpieczny problem w instalacji. W takiej sytuacji natychmiast wezwij elektryka i nie próbuj samodzielnie naprawiać usterki. Ryzyko porażenia prądem jest zbyt duże.
Przeczytaj również: Bezpiecznik B10: Ile watów wytrzyma? Oblicz i chroń swój dom!
Widoczne uszkodzenia instalacji: Zapach spalenizny, osmolenia, topienie się elementów
Wszelkie widoczne lub wyczuwalne oznaki uszkodzenia instalacji elektrycznej są sygnałem alarmowym, który należy potraktować z najwyższą powagą. Nie ignoruj ich i natychmiast wezwij elektryka, a w razie potrzeby odłącz główne zasilanie w domu.
- Zapach spalenizny: Wyczuwalny, charakterystyczny zapach spalenizny w pobliżu skrzynki z bezpiecznikami, gniazdek, włączników lub innych elementów instalacji elektrycznej.
- Osmolenia lub nadtopione elementy: Widoczne ślady osmolenia, nadtopienia, odbarwienia lub pęknięcia na obudowach gniazdek, włączników, przewodach lub w samej skrzynce z bezpiecznikami.
- Iskrzenie: Jakiekolwiek iskrzenie, dym wydobywający się z gniazdek, włączników, urządzeń lub skrzynki. To bezpośrednie zagrożenie pożarowe.
W każdym z tych przypadków liczy się szybka reakcja. Pamiętaj, że prąd elektryczny to potężna siła, która wymaga szacunku i profesjonalnego podejścia, gdy coś idzie nie tak.
